S8 ребзя смотри как я могу)))
-
- Реклама
- siroga
- Почетный член Клуба
- Сообщения: 6822
- Зарегистрирован: Вт окт 16, 2007 9:45 pm
- Репутация: 54
- Модель: Q8
- Мотор: 1234
- Город: Москва
- Откуда: Москва-ГОРОД ГЕРОЙ!!!
S8 ребзя смотри как я могу)))
если у вас рестайлинг то запчасти типа хрома перестанавливаются сразу)))
крыло надо подпилить (
крыло надо подпилить (
Q8/ A7
- siroga
- Почетный член Клуба
- Сообщения: 6822
- Зарегистрирован: Вт окт 16, 2007 9:45 pm
- Репутация: 54
- Модель: Q8
- Мотор: 1234
- Город: Москва
- Откуда: Москва-ГОРОД ГЕРОЙ!!!
да ладно)))) а..что тонировка))я в небо не смотрю
Последний раз редактировалось siroga Пн окт 12, 2009 12:29 pm, всего редактировалось 1 раз.
Q8/ A7
- siroga
- Почетный член Клуба
- Сообщения: 6822
- Зарегистрирован: Вт окт 16, 2007 9:45 pm
- Репутация: 54
- Модель: Q8
- Мотор: 1234
- Город: Москва
- Откуда: Москва-ГОРОД ГЕРОЙ!!!
бампер 4E0807105SGRU, решетки 4E0807679K,4E0807680K.диоды самопальныe влагонепроницаемые)
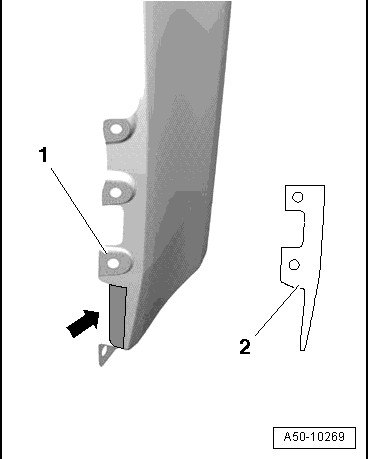
вот инструкция по подпилке крыла...дима999 пилил бампер что не совсем правильно(
Вырезать отверстие для »накладки S-8«
Необходимые специальные приспособления, контрольные и измерительные приборы, а также вспомогательные средства Пила для кузовных работ -V.A.G 1523A-
Инструкция: шаблон поставляется с новой накладкой.
Выровнять шаблон по отверстиям и внешнему контуру, а вырезаемую часть отметить фломастером.
Вырезать отмеченную часть -стрелка-пилой для кузовных работ -V.A.G 1523A- и защитить кромки от коррозии.
пила обычная не "ваговская"
вот инструкция по подпилке крыла...дима999 пилил бампер что не совсем правильно(
Вырезать отверстие для »накладки S-8«
Необходимые специальные приспособления, контрольные и измерительные приборы, а также вспомогательные средства Пила для кузовных работ -V.A.G 1523A-
Инструкция: шаблон поставляется с новой накладкой.
Выровнять шаблон по отверстиям и внешнему контуру, а вырезаемую часть отметить фломастером.
Вырезать отмеченную часть -стрелка-пилой для кузовных работ -V.A.G 1523A- и защитить кромки от коррозии.
пила обычная не "ваговская"
Q8/ A7
-
vladimir_a8
- Почетный член Клуба
- Сообщения: 1446
- Зарегистрирован: Пт янв 25, 2008 1:44 pm
- Награды: 1
- Репутация: 30
- Модель: A8, 2001; A8, 2007
- Мотор: AMX, 2.8; BVJ, 4.2
- Город: Санкт-Петербург
- Откуда: Санкт-Петербург
-
vladimir_a8
- Почетный член Клуба
- Сообщения: 1446
- Зарегистрирован: Пт янв 25, 2008 1:44 pm
- Награды: 1
- Репутация: 30
- Модель: A8, 2001; A8, 2007
- Мотор: AMX, 2.8; BVJ, 4.2
- Город: Санкт-Петербург
- Откуда: Санкт-Петербург
Re:
Да ладно? По-моему, ты и Акин ставили 2008 решетки в 2005й бампер. Ну крепления чуть переделать - и телемаркет. Разве нет?siroga писал(а):решетки на 2008 не влезут в 2006 бампер.так что отпадает.
Не люблю железо пилить...
-
vladimir_a8
- Почетный член Клуба
- Сообщения: 1446
- Зарегистрирован: Пт янв 25, 2008 1:44 pm
- Награды: 1
- Репутация: 30
- Модель: A8, 2001; A8, 2007
- Мотор: AMX, 2.8; BVJ, 4.2
- Город: Санкт-Петербург
- Откуда: Санкт-Петербург
- siroga
- Почетный член Клуба
- Сообщения: 6822
- Зарегистрирован: Вт окт 16, 2007 9:45 pm
- Репутация: 54
- Модель: Q8
- Мотор: 1234
- Город: Москва
- Откуда: Москва-ГОРОД ГЕРОЙ!!!
vladimir_a8
решетки от обычной А8 на эсочный бампер не встнут...а вот решетки от эски 2008 в бампер 2006 -незнаю....
решетка такая одна такая..а эсок много!!!....светодиоды как найду такиеже хорошие но побелее переделаю...просто второй варинт был желтый...пусть уж лучше синее...ксенон 6-ка у меня.
AmoKK ...я тоже знаю...что ставят на тазы...это не то..в живую по другому все!
хотел воткнуть светодиоды от с6....но пришлось бы вырезать туманку)))вот это колхоз)))
решетки от обычной А8 на эсочный бампер не встнут...а вот решетки от эски 2008 в бампер 2006 -незнаю....
решетка такая одна такая..а эсок много!!!....светодиоды как найду такиеже хорошие но побелее переделаю...просто второй варинт был желтый...пусть уж лучше синее...ксенон 6-ка у меня.
AmoKK ...я тоже знаю...что ставят на тазы...это не то..в живую по другому все!
хотел воткнуть светодиоды от с6....но пришлось бы вырезать туманку)))вот это колхоз)))
Q8/ A7
- Red machine
- Член Клуба
- Сообщения: 1058
- Зарегистрирован: Чт июл 23, 2009 2:03 pm
- Репутация: 9
- Модель: E500 W212
- Мотор: 5.5
- Город: Минск-Москва
- Имя: Константин
- Контактная информация:
-
Дима999
- Член Клуба
- Сообщения: 1455
- Зарегистрирован: Чт авг 21, 2008 8:39 pm
- Награды: 1
- Репутация: 23
- Модель: w221
- Мотор: s500
- Город: Мытищи
накладка и решётка должны быть одного цвета, если накладка будет в цвет машины, то будет выглядеть как будто решётка сделана из двух половинокA8ndrey писал(а):Одного цвета с решеткой или с машиной?
накладки бывают тех же цветов что и решётки: глянцево-чёрные и платиново-серые (с натяжкой к металику можно отнести, но к матовому)A8ndrey писал(а):А накладки глянцевые в металлике бывают? что бы в цвет с решеткой
видов накладок очень много, отличаются цветом, наличием и отсутствием отверстий под парктроник, с отверстием под госномер либо выштамповкой, под пиндосский номер и нормальный, под а8 и S8, под адаптивный круиз и без, и т.д. в различных комбинациях
-
Gena
- Член Клуба
- Сообщения: 1266
- Зарегистрирован: Сб ноя 14, 2009 8:02 am
- Награды: 1
- Репутация: 29
- Модель: А8 D4 2015
- Мотор: 4,2 tdi
- Город: Полтава
- Имя: Гена
Re: S8 ребзя смотри как я могу)))
А что за шаблон ? Мне новая накладка пришла без шаблона.siroga писал(а):Инструкция: шаблон поставляется с новой накладкой.Выровнять шаблон по отверстиям и внешнему контуру, а вырезаемую часть отметить фломастером.
- miha7272
- Сообщения: 50
- Зарегистрирован: Чт дек 09, 2010 9:33 pm
- Репутация: 0
- Модель: a8 2003
- Мотор: 4.0tdi
- Город: johvi
- Имя: mihail
- Откуда: эстония
Re: S8 ребзя смотри как я могу)))
уверяюююю.решетки противотуманок 2006 не встанут на2008.я купил все лежит. придеться снимать бампер,полность вырезать крепление круглои противотуманки2006 ,делать мастеринг -закреплять квадратную противотуманку2008 в бампере и потом ставить решетки.надеюсь что через пару недель етим заимусь,потом отпишусь.я вел разговор только о деталях s8.




