Проблема с включением задней передачи
-
- Реклама
- Alfaplast
- Сообщения: 144
- Зарегистрирован: Пт окт 10, 2008 6:58 pm
- Репутация: 0
- Модель: A8 1995
- Мотор: 4.2
- Город: Киев
- Имя: Cаша
Re: Проблема с включением задней передачи
У меня коробка 4HP24A .Нашол сайт с запчастями
комплект прокладок K83900J ZF4HP24A 185дол
комплект дисков фрикционных 053752E ZF4HP24A 100дол
прокладка насоса 0750 112 046 ZF4HP24A 8дол
сальник Torque Tube 0750 111 256(0734 319 204) 4HP24A 10дол
фильтр 83575N ZF4HP24A 18дол
комплект прокладок K83900J ZF4HP24A 185дол
комплект дисков фрикционных 053752E ZF4HP24A 100дол
прокладка насоса 0750 112 046 ZF4HP24A 8дол
сальник Torque Tube 0750 111 256(0734 319 204) 4HP24A 10дол
фильтр 83575N ZF4HP24A 18дол
- Alfaplast
- Сообщения: 144
- Зарегистрирован: Пт окт 10, 2008 6:58 pm
- Репутация: 0
- Модель: A8 1995
- Мотор: 4.2
- Город: Киев
- Имя: Cаша
Re: Проблема с включением задней передачи
Всем привет, вообщем снял поддон.Нахожусь в легком шоке.
- Alfaplast
- Сообщения: 144
- Зарегистрирован: Пт окт 10, 2008 6:58 pm
- Репутация: 0
- Модель: A8 1995
- Мотор: 4.2
- Город: Киев
- Имя: Cаша
Re: Проблема с включением задней передачи
Что чистить, какой клапан относится к задней?
- A159632478
- Член Клуба
- Сообщения: 1377
- Зарегистрирован: Чт дек 04, 2008 11:13 pm
- Репутация: 20
- Модель: a8 d2 седьмой год
- Мотор: abz 299((
- Город: Москва
- Имя: Тёма
- Откуда: СССР
- Контактная информация:
- Забанен: Бессрочно
Re: Проблема с включением задней передачи
ща буду делать отчёт.. Alfaplast, только очень внимательно.. ничего не перепутай!!!
- Alfaplast
- Сообщения: 144
- Зарегистрирован: Пт окт 10, 2008 6:58 pm
- Репутация: 0
- Модель: A8 1995
- Мотор: 4.2
- Город: Киев
- Имя: Cаша
Re: Проблема с включением задней передачи
жду, ничево не трогаю!A159632478 писал(а):ща буду делать отчёт.. Alfaplast, только очень внимательно.. ничего не перепутай!!!
- A159632478
- Член Клуба
- Сообщения: 1377
- Зарегистрирован: Чт дек 04, 2008 11:13 pm
- Репутация: 20
- Модель: a8 d2 седьмой год
- Мотор: abz 299((
- Город: Москва
- Имя: Тёма
- Откуда: СССР
- Контактная информация:
- Забанен: Бессрочно
Re: Проблема с включением задней передачи
сделал, спрашивай, если что не понятно!
viewtopic.php?f=119&t=9049&p=194437#p194437
viewtopic.php?f=119&t=9049&p=194437#p194437
- Alfaplast
- Сообщения: 144
- Зарегистрирован: Пт окт 10, 2008 6:58 pm
- Репутация: 0
- Модель: A8 1995
- Мотор: 4.2
- Город: Киев
- Имя: Cаша
Re: Проблема с включением задней передачи
A159632478 писал(а):сделал, спрашивай, если что не понятно!
viewtopic.php?f=119&t=9049&p=194437#p194437
Спасибо, ну я понял, начинаю розбирать
- Alfaplast
- Сообщения: 144
- Зарегистрирован: Пт окт 10, 2008 6:58 pm
- Репутация: 0
- Модель: A8 1995
- Мотор: 4.2
- Город: Киев
- Имя: Cаша
Re: Проблема с включением задней передачи
Отложыл смотрю дальше 
- A159632478
- Член Клуба
- Сообщения: 1377
- Зарегистрирован: Чт дек 04, 2008 11:13 pm
- Репутация: 20
- Модель: a8 d2 седьмой год
- Мотор: abz 299((
- Город: Москва
- Имя: Тёма
- Откуда: СССР
- Контактная информация:
- Забанен: Бессрочно
- Alfaplast
- Сообщения: 144
- Зарегистрирован: Пт окт 10, 2008 6:58 pm
- Репутация: 0
- Модель: A8 1995
- Мотор: 4.2
- Город: Киев
- Имя: Cаша
Re: Проблема с включением задней передачи
Он у меня не доходит до стенки 2-3мм если помочь то упераетца,и я не розобрался с надписью -сдесь должен стоять ( ???) и ход до(?)
- A159632478
- Член Клуба
- Сообщения: 1377
- Зарегистрирован: Чт дек 04, 2008 11:13 pm
- Репутация: 20
- Модель: a8 d2 седьмой год
- Мотор: abz 299((
- Город: Москва
- Имя: Тёма
- Откуда: СССР
- Контактная информация:
- Забанен: Бессрочно
Re: Проблема с включением задней передачи
ретайнер (retainer)! на 2 фото он виден в полный рост. такая чёрная штучка, которая в канал втыкается, а на фото справа поршень придерживает.
Соленоид к 12в не в коем случае!) это же соленоид. Возьми мультиметр и померь сопротивление.. знаешь что такое мультиметр надеюсь... данные по сопротивлению есть первых постах моего отчёта.
Соленоид к 12в не в коем случае!) это же соленоид. Возьми мультиметр и померь сопротивление.. знаешь что такое мультиметр надеюсь... данные по сопротивлению есть первых постах моего отчёта.
- Alfaplast
- Сообщения: 144
- Зарегистрирован: Пт окт 10, 2008 6:58 pm
- Репутация: 0
- Модель: A8 1995
- Мотор: 4.2
- Город: Киев
- Имя: Cаша
Re: Проблема с включением задней передачи
Ясно, тестера не могу найти
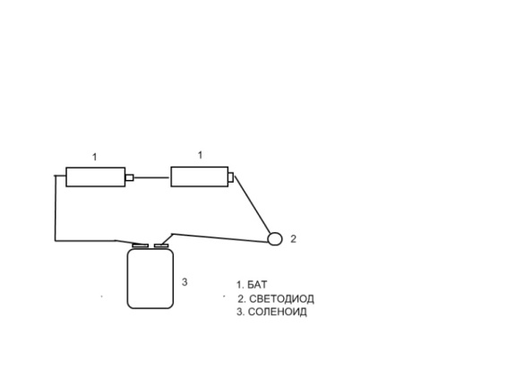
я пробывал взял 2 бат.и через светодиод все горят значит обрыва нет.
- Alfaplast
- Сообщения: 144
- Зарегистрирован: Пт окт 10, 2008 6:58 pm
- Репутация: 0
- Модель: A8 1995
- Мотор: 4.2
- Город: Киев
- Имя: Cаша
Re: Проблема с включением задней передачи
Остальные поршни ходят идеально, что делать с тем? если он не доходил до упора значит та часть не работала? может ето быть причиной?
- A159632478
- Член Клуба
- Сообщения: 1377
- Зарегистрирован: Чт дек 04, 2008 11:13 pm
- Репутация: 20
- Модель: a8 d2 седьмой год
- Мотор: abz 299((
- Город: Москва
- Имя: Тёма
- Откуда: СССР
- Контактная информация:
- Забанен: Бессрочно
Re: Проблема с включением задней передачи
не факт. совсем не факт(((
разберись почему он не ходит, должен ходить без всяких заеданий.
разберись почему он не ходит, должен ходить без всяких заеданий.
- A159632478
- Член Клуба
- Сообщения: 1377
- Зарегистрирован: Чт дек 04, 2008 11:13 pm
- Репутация: 20
- Модель: a8 d2 седьмой год
- Мотор: abz 299((
- Город: Москва
- Имя: Тёма
- Откуда: СССР
- Контактная информация:
- Забанен: Бессрочно
Re: Проблема с включением задней передачи
это резинки, которые находятся под пружинками, просто обеспечивают перетекание масла из корпуса в муфты. не трогай их лучше.. они притираются со временем и меняют форму.. то есть если их вытащил, то ставь только новые.
- Alfaplast
- Сообщения: 144
- Зарегистрирован: Пт окт 10, 2008 6:58 pm
- Репутация: 0
- Модель: A8 1995
- Мотор: 4.2
- Город: Киев
- Имя: Cаша
Re: Проблема с включением задней передачи
Тоисть они отпадают?
- Alfaplast
- Сообщения: 144
- Зарегистрирован: Пт окт 10, 2008 6:58 pm
- Репутация: 0
- Модель: A8 1995
- Мотор: 4.2
- Город: Киев
- Имя: Cаша
Re: Проблема с включением задней передачи
Поршень еле вытянул! Все повытирал, смазал, начал доходить до упора! Собираю дальше.
- Alfaplast
- Сообщения: 144
- Зарегистрирован: Пт окт 10, 2008 6:58 pm
- Репутация: 0
- Модель: A8 1995
- Мотор: 4.2
- Город: Киев
- Имя: Cаша
Re: Проблема с включением задней передачи
Все, собрал, утром буду ставить на место, какие будут ставки на работоспособность???
- A159632478
- Член Клуба
- Сообщения: 1377
- Зарегистрирован: Чт дек 04, 2008 11:13 pm
- Репутация: 20
- Модель: a8 d2 седьмой год
- Мотор: abz 299((
- Город: Москва
- Имя: Тёма
- Откуда: СССР
- Контактная информация:
- Забанен: Бессрочно
Re: Проблема с включением задней передачи
резинки лучше не трогай.. на них просто должны давить пружинки.. тем более если вперёд едет в идеале, а назад нифига, то точно они не при чём..
Шанс что проблема в гидроблоке очень мал((
Масла литров 7 войдёт(((
Шанс что проблема в гидроблоке очень мал((
Масла литров 7 войдёт(((
- Alfaplast
- Сообщения: 144
- Зарегистрирован: Пт окт 10, 2008 6:58 pm
- Репутация: 0
- Модель: A8 1995
- Мотор: 4.2
- Город: Киев
- Имя: Cаша
Re: Проблема с включением задней передачи
Тёма, спасибо что помогал мне весь день!
Утром поставлю, отпишусь. Не будет работать, буду снимать коробку, но будем надеяться на лучшее.
Утром поставлю, отпишусь. Не будет работать, буду снимать коробку, но будем надеяться на лучшее.
- A159632478
- Член Клуба
- Сообщения: 1377
- Зарегистрирован: Чт дек 04, 2008 11:13 pm
- Репутация: 20
- Модель: a8 d2 седьмой год
- Мотор: abz 299((
- Город: Москва
- Имя: Тёма
- Откуда: СССР
- Контактная информация:
- Забанен: Бессрочно
Re: Проблема с включением задней передачи
пожалуйста
надеюсь всё заработает!!!






