как красиво подключить сигналку (много)
-
- Реклама
-
DeniS-8
- Почетный член Клуба
- Сообщения: 3453
- Зарегистрирован: Вт янв 29, 2008 11:13 am
- Награды: 1
- Репутация: 44
- Модель: A-8 2010
- Мотор: 4.2 Td чипованый
- Город: Москва - Рига
- Имя: Денис
Я когда то делал так (но это было исключительно на бмв,не потому,что на ауди не возможно,а просто мне тогда нравились только бмв),короче установка сигналки,концевики дверей брал всегда около блока комфорта,через диоды,комфорт там же подкдючал,снимал тягу на замке багажника и в отверстие куда втыкать ключ,вставлял монету (не помнюкакую,но подходила идеально,и не выковарить ее и не просверлить,короче была хорошая мысль на тот момент!),снимал тяги с дверей,с помощью оригинальных накладок вокруг уличной ручки дверей убирал отверстия под ключ (ставил накладки от задних дверей).Суть была такова: закрываеш машину с сигналки и она из за комфорта закрывалась сама,но у бемок есть один наворот ,не знаю есть ли он в ауди,когда закрылась машина,отработал комфорт,там срабатывает еще какая то система,типа дополнительной блокировки,которая каким то образом блокировала кнопки в салоне - ее поднимеш,но механизм не открываеться и кнопка опять уходит вниз,и так пока машину не откороеш с помощью включения комфорта!Задействовать комфорт было важно именно из за этой вот системы.
Далее из практики : все работало правильно и очень удобно и довольно надежно,пока не сел аккумулятор!Естественно проблему решил с помощью подлез под машину,зацепился за стартер и массу,подождал и открыл ее с помощью пульта сигналки (учитывая,что ключи слетают ,надо все это делать только с дополнительной сигналкой),ну вобщем на тот момент завести и уехать смог!Начал думать,как это решить.Сделал два провода от аккумулятора с клемками на концах,за которые в аварийном случае можно зацепить прикуриватель,спрятал их под фанарики подсветки номера.Тоесть,если садился акум, откручиваеш два саморезика,вытаскиваеш корпус подсветки номера и добираешся до контактов,прицепляеш к ним источник питания и открываеш машину.Но выявивился еще один нюанс,который тоже пришлось решать,короче я раздавил пульт сигналки,а он был единственный!Вот тут пришлось по....ться конкретно,но так же убедился,что задумка вся эта правильная,но надо ,как то найти решение с аварийным выключением сигналки!Тут скажу честно своей головы не хватило и товарищ мне как то припаял к сигнализации кнопку,которая могла эмитировать команду с пульта на снятие с охраны.Честно скажу,что осуществить это было сложно и товарищ долго занимался и эксперементировал,но в конечном итоге победил.И предложил еще один вариант,что бы обесопасить эту патайную кнопку,которая тоже таилась за подсветкой номера,только с другой стороны.вместо кнопки,туда подвели штекер (кажеться на компе он называеться RS 32 bkb RS232,такой же,как раньше использовали для вагкома до USB),в этот разьем приходили на все ножки одинаковые провода,и плюс и минус и еще что то,что при неправильном соединении ответной части этого разьема,палило нафиг сигналку в режиме охраны- скажу сразу,до проверки этого наворота дело не дошло!Потом это все было отработанно и потом еще на нескольких бмв себе делал так же- оставался доволен!
Далее из практики : все работало правильно и очень удобно и довольно надежно,пока не сел аккумулятор!Естественно проблему решил с помощью подлез под машину,зацепился за стартер и массу,подождал и открыл ее с помощью пульта сигналки (учитывая,что ключи слетают ,надо все это делать только с дополнительной сигналкой),ну вобщем на тот момент завести и уехать смог!Начал думать,как это решить.Сделал два провода от аккумулятора с клемками на концах,за которые в аварийном случае можно зацепить прикуриватель,спрятал их под фанарики подсветки номера.Тоесть,если садился акум, откручиваеш два саморезика,вытаскиваеш корпус подсветки номера и добираешся до контактов,прицепляеш к ним источник питания и открываеш машину.Но выявивился еще один нюанс,который тоже пришлось решать,короче я раздавил пульт сигналки,а он был единственный!Вот тут пришлось по....ться конкретно,но так же убедился,что задумка вся эта правильная,но надо ,как то найти решение с аварийным выключением сигналки!Тут скажу честно своей головы не хватило и товарищ мне как то припаял к сигнализации кнопку,которая могла эмитировать команду с пульта на снятие с охраны.Честно скажу,что осуществить это было сложно и товарищ долго занимался и эксперементировал,но в конечном итоге победил.И предложил еще один вариант,что бы обесопасить эту патайную кнопку,которая тоже таилась за подсветкой номера,только с другой стороны.вместо кнопки,туда подвели штекер (кажеться на компе он называеться RS 32 bkb RS232,такой же,как раньше использовали для вагкома до USB),в этот разьем приходили на все ножки одинаковые провода,и плюс и минус и еще что то,что при неправильном соединении ответной части этого разьема,палило нафиг сигналку в режиме охраны- скажу сразу,до проверки этого наворота дело не дошло!Потом это все было отработанно и потом еще на нескольких бмв себе делал так же- оставался доволен!
-
vladimir_a8
- Почетный член Клуба
- Сообщения: 1446
- Зарегистрирован: Пт янв 25, 2008 1:44 pm
- Награды: 1
- Репутация: 30
- Модель: A8, 2001; A8, 2007
- Мотор: AMX, 2.8; BVJ, 4.2
- Город: Санкт-Петербург
- Откуда: Санкт-Петербург
Ну если отключить ЦЗ на замке багажника (как я выше советовал), то действительно снимать не обязательно. Хотя угонщики тоже прекрасно знают о вакуумных трубках, куда можно дунуть, если залезли в багажник! Но это время.vovvw писал(а):А я про габажник ничего и не писал, зачем с багажника то снимать...vladimir_a8 писал(а):Ни лючок, ни насос не помогут, если снять тяги не только с вод. двери, но и с двери багажника![]()
![]()
Если же ЦЗ не отключен, то затея теряет всякий смысл, ибо ЦЗ откроется проворотом замка багажника.
На рестайле дырка под ключ только на водительскойvovvw писал(а):Не, и с водительской и с пассажирской, а в багажник оставить, они возится не будут...vladimir_a8 писал(а):Хотя как вариант, конечно, снять тягу только с замка вод. двери, тогда угонщик потратит еще 5 минут. (ну а мы в случае чего полчаса)
Наверное так и сделаю когда буду менять ручку водительской двери.
-
vladimir_a8
- Почетный член Клуба
- Сообщения: 1446
- Зарегистрирован: Пт янв 25, 2008 1:44 pm
- Награды: 1
- Репутация: 30
- Модель: A8, 2001; A8, 2007
- Мотор: AMX, 2.8; BVJ, 4.2
- Город: Санкт-Петербург
- Откуда: Санкт-Петербург
Да, мысли очень правильные. Я тоже думаю вывести себе кнопку для аварийного снятия с сигналки. Тем более на аудях для штатной сигналки это элементарно - просто вывести концевик замка и замыкать его на землю.DeniS-8 писал(а):Я когда то делал так
.....
Потом это все было отработанно и потом еще на нескольких бмв себе делал так же- оставался доволен!
С другой стороны, пока не решусь снять тягу с крышки багажника, смысла не очень много.
Ну а вкосячить разъем на 25 контактов - мысль! Врядли будут разбираться, что там надо замыкать и пр.
Но палить сигналку в случае неправильного замыкания - это жесть
-
vladimir_a8
- Почетный член Клуба
- Сообщения: 1446
- Зарегистрирован: Пт янв 25, 2008 1:44 pm
- Награды: 1
- Репутация: 30
- Модель: A8, 2001; A8, 2007
- Мотор: AMX, 2.8; BVJ, 4.2
- Город: Санкт-Петербург
- Откуда: Санкт-Петербург
Угу. И тем не менее, если снять тяги и с замка багажника тоже, то еще будет +10 минутvovvw писал(а):А речь только о времени и идет, при избытке оного ничто не остановит...vladimir_a8 писал(а):Хотя угонщики тоже прекрасно знают о вакуумных трубках, куда можно дунуть, если залезли в багажник! Но это время.
Хотя, видимо, я этого все же делать не буду, а остановлюсь на варианте со снятой тягой вод. двери и с отключенным ЦЗ.
Т.е.
1. если сядет АКБ, то открываем багажник ключем и просто заряжаем АКБ.
2. Если брелок рассинхрится, то открываем багажник и замыкаем массу на концевик ЦЗ.
(Ну и само-собой секретки, замок на капот и т.д. Это не обсуждается.)
-
vladimir_a8
- Почетный член Клуба
- Сообщения: 1446
- Зарегистрирован: Пт янв 25, 2008 1:44 pm
- Награды: 1
- Репутация: 30
- Модель: A8, 2001; A8, 2007
- Мотор: AMX, 2.8; BVJ, 4.2
- Город: Санкт-Петербург
- Откуда: Санкт-Петербург
Вообще наверное ты прав... Чем заморачиваться и лезть в багажник, кромсать обшивку чтобы дунуть в трубку (сигналка, кстати, в это время орет) и проч, проще стекло вынести...vovvw писал(а):Не, не будет - забыл про стеклаvladimir_a8 писал(а):Угу. И тем не менее, если снять тяги и с замка багажника тоже, то еще будет +10 минут, а они бьются...
А вообще, отключить концевики ЦЗ - IT'S A MUST! Сейчас в инете нашел статейку о том, как угонщики крючком поддевают проводку, вытаскивают ее через щель между вод. дверью и кузовом (или между багажником и кузовом) и просто банально подают землю на концевик ЦЗ. Так что всем советую...
-
Геннадий
- Сообщения: 36
- Зарегистрирован: Чт июн 17, 2010 3:02 pm
- Репутация: 0
- Модель: AUDI A8-2000
- Мотор: AQF
- Город: Maykop
- Имя: Геннадий
Re: как красиво подключить сигналку (много)
Добрый всем день или вечер!
На А8 стояла штатная сигналка и установленная старлайн А8....есно закрывались и открывались порознь...надоело решил поэксперементировать...и получилось весьма удобная штуковина...
схему подключения берем не ту что для компрессора а вот эту ....
На А8 стояла штатная сигналка и установленная старлайн А8....есно закрывались и открывались порознь...надоело решил поэксперементировать...и получилось весьма удобная штуковина...
схему подключения берем не ту что для компрессора а вот эту ....
- Вложения
-
- схема1.docx
- (17.97 КБ) 155 скачиваний
-
Геннадий
- Сообщения: 36
- Зарегистрирован: Чт июн 17, 2010 3:02 pm
- Репутация: 0
- Модель: AUDI A8-2000
- Мотор: AQF
- Город: Maykop
- Имя: Геннадий
Re: как красиво подключить сигналку (много)
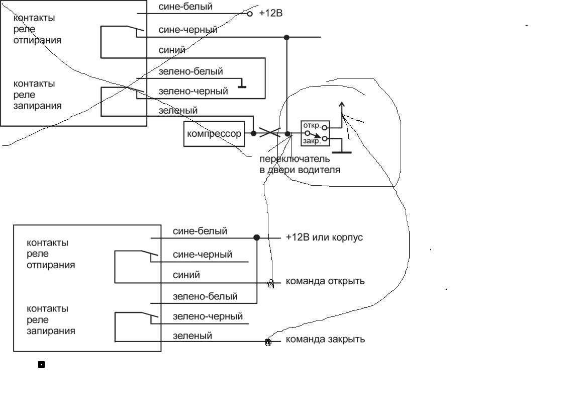
чето не получается у меня добавить схемку...берем схему -- Схема подключения к системе запирания с положительным или отрицательным управленияем где 6 ножковый штекер для подключения центрального замка...после подключения имеем синий провод на команду открыть а зеленый на команду закрыть...
Вот эти два провода и подсоеденяем к электрической части личинки замка водительской двери.....там идут три провода...один на массу...смоответственно к двум другим (рвать и отрезать ничего не надо) просто слегка зачищаем изоляцию и цепляемся.....прорвода от сигналки можно завести прямо в дверь и внутри подцепиться...теперь Ваша сигналка работает от брелока страрлайновской сигнализации совмещенно...т.е. и штатная и старлайновская включаются и выключаются вместе...можно подключится только одним проводом на закрытие...тогда ваша сигналка будет работать в паре на закрытие и раздельно на открытие...т.е. с брелока когда жмете кнопку двери не откроются а будут продолжать быть закрытыми и стоять на штатной сигналке...снимится только старлайн...а штатку либо брелоком штатки либо поворотом ключа в личинке вод.двери...
Вот эти два провода и подсоеденяем к электрической части личинки замка водительской двери.....там идут три провода...один на массу...смоответственно к двум другим (рвать и отрезать ничего не надо) просто слегка зачищаем изоляцию и цепляемся.....прорвода от сигналки можно завести прямо в дверь и внутри подцепиться...теперь Ваша сигналка работает от брелока страрлайновской сигнализации совмещенно...т.е. и штатная и старлайновская включаются и выключаются вместе...можно подключится только одним проводом на закрытие...тогда ваша сигналка будет работать в паре на закрытие и раздельно на открытие...т.е. с брелока когда жмете кнопку двери не откроются а будут продолжать быть закрытыми и стоять на штатной сигналке...снимится только старлайн...а штатку либо брелоком штатки либо поворотом ключа в личинке вод.двери...
- siroga
- Почетный член Клуба
- Сообщения: 6822
- Зарегистрирован: Вт окт 16, 2007 9:45 pm
- Репутация: 54
- Модель: Q8
- Мотор: 1234
- Город: Москва
- Откуда: Москва-ГОРОД ГЕРОЙ!!!
Re: как красиво подключить сигналку (много)
смысла вообще не вижу....!!!ауди с 2003 больше не воруют...все системы не штатные приводят к глюкам-и все.....задолбался уже снимать всю эту херь с новых машин
Q8/ A7
-
vladimir_a8
- Почетный член Клуба
- Сообщения: 1446
- Зарегистрирован: Пт янв 25, 2008 1:44 pm
- Награды: 1
- Репутация: 30
- Модель: A8, 2001; A8, 2007
- Мотор: AMX, 2.8; BVJ, 4.2
- Город: Санкт-Петербург
- Откуда: Санкт-Петербург
Re: как красиво подключить сигналку (много)
Темка-то про Д2siroga писал(а):смысла вообще не вижу....!!!ауди с 2003 больше не воруют...все системы не штатные приводят к глюкам-и все.....задолбался уже снимать всю эту херь с новых машин




