монтаж чейнджера

Все о музыке, вариантах подключения, ТВ, чейнджеры, усилители, динамики, навигация и все, что с этим связано.
Штатный телефон. Антенна.
Аватара пользователя
DGF
Сообщения: 327
Зарегистрирован: Вс июн 14, 2009 7:33 pm
Репутация: 5
Модель: A8 1994
Мотор: ABZ
Город: Обнинск
Имя: Константин
Контактная информация:

монтаж чейнджера

Сообщение DGF »

доброго времени суток!
есть чейнджер от дельты, кронштейн(крепление в багажнике) отсутствует, как заколхозить? или без оригинального крепежа не получится? как он крепится, где бы глянуть, непосредственно на металл или через демпферы? или мож подскажите номерок, на экзисте три варианта.... 1thankyou
Аватара пользователя
DGF
Сообщения: 327
Зарегистрирован: Вс июн 14, 2009 7:33 pm
Репутация: 5
Модель: A8 1994
Мотор: ABZ
Город: Обнинск
Имя: Константин
Контактная информация:

Re: монтаж чейнджера

Сообщение DGF »

или мануал по установке кто подарит...
Аватара пользователя
LIS

Ветеран Клуба
Член Клуба
Сообщения: 1592
Зарегистрирован: Пт июн 20, 2008 6:52 pm
Награды: 1
Репутация: 36
Модель: D2 98
Мотор: ALG 2.8
Город: Камышин
Имя: Роман

Сообщение LIS »

вот
Вложения
.JPG
жить, как говорится-хорошо, а хорошо жить ещё лучше (с)
Аватара пользователя
DGF
Сообщения: 327
Зарегистрирован: Вс июн 14, 2009 7:33 pm
Репутация: 5
Модель: A8 1994
Мотор: ABZ
Город: Обнинск
Имя: Константин
Контактная информация:

Сообщение DGF »

у тебя все это железо стоит? на 95г?
Аватара пользователя
LIS

Ветеран Клуба
Член Клуба
Сообщения: 1592
Зарегистрирован: Пт июн 20, 2008 6:52 pm
Награды: 1
Репутация: 36
Модель: D2 98
Мотор: ALG 2.8
Город: Камышин
Имя: Роман

Сообщение LIS »

да
жить, как говорится-хорошо, а хорошо жить ещё лучше (с)
Аватара пользователя
DGF
Сообщения: 327
Зарегистрирован: Вс июн 14, 2009 7:33 pm
Репутация: 5
Модель: A8 1994
Мотор: ABZ
Город: Обнинск
Имя: Константин
Контактная информация:

Сообщение DGF »

ткни пальцем на аритнке номер(цифру) сд чейнджера для магнитоллы дельта.....и на магнитоллу дельта, будь добр 1thankyou 1confuz8
Аватара пользователя
LIS

Ветеран Клуба
Член Клуба
Сообщения: 1592
Зарегистрирован: Пт июн 20, 2008 6:52 pm
Награды: 1
Репутация: 36
Модель: D2 98
Мотор: ALG 2.8
Город: Камышин
Имя: Роман

Сообщение LIS »

10 и 11
жить, как говорится-хорошо, а хорошо жить ещё лучше (с)
Аватара пользователя
LIS

Ветеран Клуба
Член Клуба
Сообщения: 1592
Зарегистрирован: Пт июн 20, 2008 6:52 pm
Награды: 1
Репутация: 36
Модель: D2 98
Мотор: ALG 2.8
Город: Камышин
Имя: Роман

Сообщение LIS »

у меня дельта была, чейнджер в багажнике, крепление такое как на картинке
жить, как говорится-хорошо, а хорошо жить ещё лучше (с)
Аватара пользователя
DGF
Сообщения: 327
Зарегистрирован: Вс июн 14, 2009 7:33 pm
Репутация: 5
Модель: A8 1994
Мотор: ABZ
Город: Обнинск
Имя: Константин
Контактная информация:

Сообщение DGF »

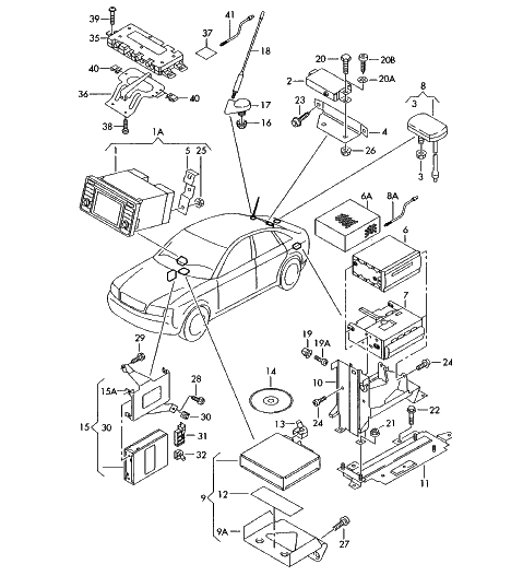
это кронштейны для макс комплектухи(на картинке туда лепят 6-тюнер и 7-сисму навигации) и , на...оно мне, один чейнджер воткнуть- такая заморочка, а проще никак? вроде все проще должно быть...
Аватара пользователя
LIS

Ветеран Клуба
Член Клуба
Сообщения: 1592
Зарегистрирован: Пт июн 20, 2008 6:52 pm
Награды: 1
Репутация: 36
Модель: D2 98
Мотор: ALG 2.8
Город: Камышин
Имя: Роман

Сообщение LIS »

проще никак, только колхоз
жить, как говорится-хорошо, а хорошо жить ещё лучше (с)
Аватара пользователя
DGF
Сообщения: 327
Зарегистрирован: Вс июн 14, 2009 7:33 pm
Репутация: 5
Модель: A8 1994
Мотор: ABZ
Город: Обнинск
Имя: Константин
Контактная информация:

Сообщение DGF »

думаю, это не совсем так
Аватара пользователя
DGF
Сообщения: 327
Зарегистрирован: Вс июн 14, 2009 7:33 pm
Репутация: 5
Модель: A8 1994
Мотор: ABZ
Город: Обнинск
Имя: Константин
Контактная информация:

Сообщение DGF »

вот три железки:
думаю достаточно одной из них, догадаешься какой?
Вложения
крепеж2.jpeg
крепеж1.jpeg
крепеж.jpeg
Аватара пользователя
LIS

Ветеран Клуба
Член Клуба
Сообщения: 1592
Зарегистрирован: Пт июн 20, 2008 6:52 pm
Награды: 1
Репутация: 36
Модель: D2 98
Мотор: ALG 2.8
Город: Камышин
Имя: Роман

Сообщение LIS »

первая и вторая
жить, как говорится-хорошо, а хорошо жить ещё лучше (с)
Аватара пользователя
DGF
Сообщения: 327
Зарегистрирован: Вс июн 14, 2009 7:33 pm
Репутация: 5
Модель: A8 1994
Мотор: ABZ
Город: Обнинск
Имя: Константин
Контактная информация:

Сообщение DGF »

а нафига первая то? одной второй достаточно, помоему
Аватара пользователя
DGF
Сообщения: 327
Зарегистрирован: Вс июн 14, 2009 7:33 pm
Репутация: 5
Модель: A8 1994
Мотор: ABZ
Город: Обнинск
Имя: Константин
Контактная информация:

Сообщение DGF »

ну если верить эльзе, вспомним картинку....
Аватара пользователя
LIS

Ветеран Клуба
Член Клуба
Сообщения: 1592
Зарегистрирован: Пт июн 20, 2008 6:52 pm
Награды: 1
Репутация: 36
Модель: D2 98
Мотор: ALG 2.8
Город: Камышин
Имя: Роман

Сообщение LIS »

чейнджер крепится на первую
жить, как говорится-хорошо, а хорошо жить ещё лучше (с)
Аватара пользователя
DGF
Сообщения: 327
Зарегистрирован: Вс июн 14, 2009 7:33 pm
Репутация: 5
Модель: A8 1994
Мотор: ABZ
Город: Обнинск
Имя: Константин
Контактная информация:

Сообщение DGF »

вот, теплее....а нафига (мне) вторая?
Аватара пользователя
DGF
Сообщения: 327
Зарегистрирован: Вс июн 14, 2009 7:33 pm
Репутация: 5
Модель: A8 1994
Мотор: ABZ
Город: Обнинск
Имя: Константин
Контактная информация:

Сообщение DGF »

всмысле "первая"
Аватара пользователя
DGF
Сообщения: 327
Зарегистрирован: Вс июн 14, 2009 7:33 pm
Репутация: 5
Модель: A8 1994
Мотор: ABZ
Город: Обнинск
Имя: Константин
Контактная информация:

Сообщение DGF »

запутался, как на первую? на вторую вроде, ааааа, отверстия в чейнджере и там и там(вверху и внизу) он похоже через демпферы(резинки) крепится? вверху и внизу. похоже так...гемор....
Аватара пользователя
DGF
Сообщения: 327
Зарегистрирован: Вс июн 14, 2009 7:33 pm
Репутация: 5
Модель: A8 1994
Мотор: ABZ
Город: Обнинск
Имя: Константин
Контактная информация:

Сообщение DGF »

попробую упростить , а резинки точно стоят между ним и кронштейнами?, вроде нигде(на картинках) не видно из...
Аватара пользователя
BanditoZz

Ветеран Клуба
Член Клуба
Сообщения: 678
Зарегистрирован: Пт мар 28, 2008 11:49 pm
Награды: 1
Репутация: 8
Модель: -
Мотор: -
Город: Йошкар-Ола
Имя: Андрей
Контактная информация:

Сообщение BanditoZz »

Тебе первая железка нужна.
Изображение
Аватара пользователя
DGF
Сообщения: 327
Зарегистрирован: Вс июн 14, 2009 7:33 pm
Репутация: 5
Модель: A8 1994
Мотор: ABZ
Город: Обнинск
Имя: Константин
Контактная информация:

Сообщение DGF »

а кто про третью картинку скажет? по "инструкции" на дельту- он вертикально стоит...
Вложения
cd.JPG
Аватара пользователя
LIS

Ветеран Клуба
Член Клуба
Сообщения: 1592
Зарегистрирован: Пт июн 20, 2008 6:52 pm
Награды: 1
Репутация: 36
Модель: D2 98
Мотор: ALG 2.8
Город: Камышин
Имя: Роман

Сообщение LIS »

да положи ты его уже в бардачок и успокойся (диски удобней менять будет :D )
жить, как говорится-хорошо, а хорошо жить ещё лучше (с)
Аватара пользователя
DGF
Сообщения: 327
Зарегистрирован: Вс июн 14, 2009 7:33 pm
Репутация: 5
Модель: A8 1994
Мотор: ABZ
Город: Обнинск
Имя: Константин
Контактная информация:

Сообщение DGF »

:D .скорее горизонтально ставить надо. крышку с него снял, посмотрел - внутренние демпферы так устроены, если вертикально ставить- стучит по крышке при "встряхивании" .
спасибо всем за участие!
Аватара пользователя
DGF
Сообщения: 327
Зарегистрирован: Вс июн 14, 2009 7:33 pm
Репутация: 5
Модель: A8 1994
Мотор: ABZ
Город: Обнинск
Имя: Константин
Контактная информация:

Сообщение DGF »

обнаружился на торце(с двух сторон)"переключатель"-V+H, все стало понятно, соответственно, можно ставить как хошь, вопрос снят.
Ответить

Вернуться в «Музыка, TV, DVD, Navi, телефон»