Проблема после замены основного радиатора
-
- Реклама
-
Alex_Екат
- Сообщения: 5
- Зарегистрирован: Вс апр 23, 2017 11:33 am
- Репутация: 0
- Модель: Ауди А8, 2001
- Мотор: 4D8GGZ № BEL, 4,2
- Город: Екатеринбург
- Имя: Александр
Проблема после замены основного радиатора
Была течь масла АКПП из радиатора, Заменил радиатор на Ауди А8, 2001 г. 4,2л. через 2 дня вытекло масло из коробки.
Проблема с стыке нижнего шланга из АКПП и выбело самодельной заглуши сливной трубки. Во вложениях, на фото в иллюстрациях написал вопрос.
Подскажите как заглушить сливную трубку и ремонт течи из штуцера шлаега который из акпп идет.
Проблема с стыке нижнего шланга из АКПП и выбело самодельной заглуши сливной трубки. Во вложениях, на фото в иллюстрациях написал вопрос.
Подскажите как заглушить сливную трубку и ремонт течи из штуцера шлаега который из акпп идет.
- Вложения
-
- это фото
- 137458708.jpg (155.7 КБ) 6828 просмотров
-
- вот новый радиатор, а при нём не было заглушки на сливной трубке, поставили со старого (кусок шланга с болтом и хомутах)
- штуцер.jpg (24.01 КБ) 6828 просмотров
-
- слив у радиатора1.jpg (94.01 КБ) 6828 просмотров
-
Alex_Екат
- Сообщения: 5
- Зарегистрирован: Вс апр 23, 2017 11:33 am
- Репутация: 0
- Модель: Ауди А8, 2001
- Мотор: 4D8GGZ № BEL, 4,2
- Город: Екатеринбург
- Имя: Александр
Re: Проблема после замены основного радиатора
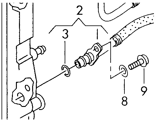
вот схема присоединения штуцера, течь при прижатии болтом, подозрение что он искривился после дтп.
- Вложения
-
- Штуцер_масл.шланга.png (11.25 КБ) 6827 просмотров
-
АндрейS8
- Почетный член Клуба
- Сообщения: 11778
- Зарегистрирован: Вс фев 26, 2012 6:14 pm
- Награды: 3
- Репутация: 168
- Модель: А8 1995г. и Ауди 100Q 91г.
- Мотор: 4,2 ABZ и 2,0
- Город: Кострома
- Имя: Андрей
Re: Проблема после замены основного радиатора
Ни чего не понял.Течёт масло из сливной трубки?Так это трубка для слива антифриза.Сливается тогда,когда отворачиваешь пробку для слива антифриза.
Помним, любим, скорбим. Светлая память.
- Akin
- Президент Клуба
- Сообщения: 27955
- Зарегистрирован: Пн авг 27, 2007 2:01 am
- Репутация: 643
- Модель: ___
- Мотор: ___
- Город: Королев
- Имя: Владислав
- Откуда: Москва
Re: Проблема после замены основного радиатора
Если искривился, то нужно выпрямить кронштейн крепления и поставить новые кольца.Alex_Екат писал(а):подозрение что он искривился после дтп.
Я как то глушил подходящим по диаметру болтом, поставив вместо шайбы опять таки уплотнительное кольцо.Alex_Екат писал(а):как заглушить сливную трубку
-
АндрейS8
- Почетный член Клуба
- Сообщения: 11778
- Зарегистрирован: Вс фев 26, 2012 6:14 pm
- Награды: 3
- Репутация: 168
- Модель: А8 1995г. и Ауди 100Q 91г.
- Мотор: 4,2 ABZ и 2,0
- Город: Кострома
- Имя: Андрей
Re: Проблема после замены основного радиатора
Влад,а на пробке для слива антифриза колечки если поменять,не поможет что ли? Я менял и всё помогло.А так можно и шланг надеть с хомутом и заглушенным болтом.Но если сливная пробка не держит,то может течь и через неё.
Помним, любим, скорбим. Светлая память.
- Akin
- Президент Клуба
- Сообщения: 27955
- Зарегистрирован: Пн авг 27, 2007 2:01 am
- Репутация: 643
- Модель: ___
- Мотор: ___
- Город: Королев
- Имя: Владислав
- Откуда: Москва
Re: Проблема после замены основного радиатора
Андрей, посмотри на картинку выше. 
-
АндрейS8
- Почетный член Клуба
- Сообщения: 11778
- Зарегистрирован: Вс фев 26, 2012 6:14 pm
- Награды: 3
- Репутация: 168
- Модель: А8 1995г. и Ауди 100Q 91г.
- Мотор: 4,2 ABZ и 2,0
- Город: Кострома
- Имя: Андрей
Re: Проблема после замены основного радиатора
Вторая картинка,куда указывает стрелка? Так это и есть нижний сосок для слива антифриза.Alex_Екат писал(а):Подскажите как заглушить сливную трубку
АндрейS8 писал(а): можно и шланг надеть с хомутом и заглушенным болтом.Но если сливная пробка не держит,то может течь и через неё
Alex_Екат писал(а): ремонт течи из штуцера шлаега который из акпп идет
Есть ещё один нюанс-там,где вставляется трубка охлаждения АКПП-на радиаторе круглая гайка с тремя отверстиями под спец ключ,так вот эта гайка бывает плохо затянута и из под неё тоже может течь.Под этой гайкой тоже резиновое колечко.Akin писал(а):Если искривился, то нужно выпрямить кронштейн крепления и поставить новые кольца.
Помним, любим, скорбим. Светлая память.
- Akin
- Президент Клуба
- Сообщения: 27955
- Зарегистрирован: Пн авг 27, 2007 2:01 am
- Репутация: 643
- Модель: ___
- Мотор: ___
- Город: Королев
- Имя: Владислав
- Откуда: Москва
Re: Проблема после замены основного радиатора
Андрей, ты прав.
Вот еще тема: viewtopic.php?f=81&t=55450
Вот еще тема: viewtopic.php?f=81&t=55450
-
Alex_Екат
- Сообщения: 5
- Зарегистрирован: Вс апр 23, 2017 11:33 am
- Репутация: 0
- Модель: Ауди А8, 2001
- Мотор: 4D8GGZ № BEL, 4,2
- Город: Екатеринбург
- Имя: Александр
Re: Проблема после замены основного радиатора
СПС за ответы. ТАК ПОЛУЧАЕТСЯ ЧТО СЛИВНАЯ ТРУБКА - ЭТО АНТИФРИЗА СЛИВ? !!! Я И НЕ ПОДУМАЛ ДАЖЕ, СПС
А вот со штуцером проблемка то большая! Новый штуцер только целиком со шлангом идет - 13000руб. и 22 дня ожидания - это засада.
А вот со штуцером проблемка то большая! Новый штуцер только целиком со шлангом идет - 13000руб. и 22 дня ожидания - это засада.
-
Alex_Екат
- Сообщения: 5
- Зарегистрирован: Вс апр 23, 2017 11:33 am
- Репутация: 0
- Модель: Ауди А8, 2001
- Мотор: 4D8GGZ № BEL, 4,2
- Город: Екатеринбург
- Имя: Александр
Re: Проблема после замены основного радиатора
СПС Андрей! Так получается эта гайка под хитрый ключ, который только в АУДИ центре что ли делать?
-
АндрейS8
- Почетный член Клуба
- Сообщения: 11778
- Зарегистрирован: Вс фев 26, 2012 6:14 pm
- Награды: 3
- Репутация: 168
- Модель: А8 1995г. и Ауди 100Q 91г.
- Мотор: 4,2 ABZ и 2,0
- Город: Кострома
- Имя: Андрей
Re: Проблема после замены основного радиатора
Я закручивал круглозубцами за 2 отверстия.
Помним, любим, скорбим. Светлая память.
-
Alex_Екат
- Сообщения: 5
- Зарегистрирован: Вс апр 23, 2017 11:33 am
- Репутация: 0
- Модель: Ауди А8, 2001
- Мотор: 4D8GGZ № BEL, 4,2
- Город: Екатеринбург
- Имя: Александр
Re: Проблема после замены основного радиатора
ясно, а не может это быть дефект радиатора, посадочное гнездо не соответствует оригиналу ???






