Система идентична, обычным авоськам, кроме муфты, но ее видно, муфта включается. Ошибок нет, в первом канале базовых "0", все должно работать.
Знаю, Ауди не ломаются, ищи где ковырялся
Подкиньте мыслей, что ковырнуть
Так у тебя наверное в этом случае муфта отключалась?Akin писал(а): Он включался и сразу отключался по датчику давления. Может, тебе перелили фреона....
Стыдно сказать, но не видел верхнего датчика(скорее не знаю где смотретьAkin писал(а):У меня как то был перезаправлен кондей...
Он включался и сразу отключался по датчику давления. Может, тебе перелили фреона....
Попробуй закоротить фишку от верхнего датчика, вдруг, заработает. Тогда думать будем.
Движок снимал, заправить полинилсяsevengt писал(а):1. По какой причине ездил зимой не заправленным?
Похоже на это, как проверить?sevengt писал(а): 2. При перезаправке сисемы газ не может нормально испарятся и как следствие не морозит почти совсем, а компресор при этом будет сильно греться.
Да отпадает, на любой температуре не работает.sevengt писал(а): 3. Как вариант - при высокой температуре компресор отключается чтоб двигатель не перегреть, но у тебя я понял он чаще не морозит чем морозит поэтому наверное отпадает.
У меня вроде хорошо видно, что включается и выключается при нажатии на экон, движок покороче.Akin писал(а):Так хорошо видно, как муфта включается, а когда выключается, плохо видно...
.
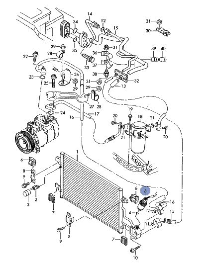
Там и глядел, збегаю еще посмотрюAkin писал(а):Датчик стоит рядом с ГТЦ, на трубке кондея.
Тогда добавляем еще вариант: в системе может находится некоторое количество влаги, кторое улавливает фильтр осушитель, если ее много и всю поймать он не может, то она подмерзает в том узком месте где газ из жидкой формы переходит в газообразную и нарушает всю работу.dmc писал(а): Движок снимал, заправить полинился![]()
По правилам так и должно быть, но всякое ж бывает, может не делали вакум, я ж не знаюdmc писал(а):Какая влага, перед заправкой система вакумируется, даже масло с низу высасовает, ну х.з.
Сбегал посмотрел, так и не нашел датчик выокого
На 8 цилиндрах дорестайлинг вот тут стоял...dmc писал(а):Там и глядел, сбегаю еще посмотрюAkin писал(а):Датчик стоит рядом с ГТЦ, на трубке кондея..