Кондиционер, то работает, то нет.

Вопросы по работе системы климат-контроля, кондиционера.
Аватара пользователя
dmc

Ветеран Клуба
Почетный член Клуба
Сообщения: 5385
Зарегистрирован: Ср фев 13, 2008 9:42 am
Награды: 1
Репутация: 75
Модель: Hyundai Kona 2018
Мотор: 2.0
Город: Сакраменто
Имя: Вячеслав
Контактная информация:

Кондиционер, то работает, то нет.

Сообщение dmc »

Просмотрел весь форум, похожего не нашел. Непонятка полная, все работает, муфта включается, вентилятор тоже, кондей заправлен, а не морозит. Вернее морозит иногда, логики нет.
Система идентична, обычным авоськам, кроме муфты, но ее видно, муфта включается. Ошибок нет, в первом канале базовых "0", все должно работать.
Знаю, Ауди не ломаются, ищи где ковырялся :) Прошлым летом развалилась муфта, был запасной компрессор с целой, его и поставил, заправил систему и вроде как все работало, правда почти всю зиму проездил с не заправленной системой.
Подкиньте мыслей, что ковырнуть :oops:
Аватара пользователя
Akin
Президент Клуба
Сообщения: 28012
Зарегистрирован: Пн авг 27, 2007 2:01 am
Репутация: 644
Модель: ___
Мотор: ___
Город: Королев
Имя: Владислав
Откуда: Москва

Сообщение Akin »

Посмотри показания термодатчиков всех, забортного, моторного...

Когда не морозит, то трубки тоже не "инеют" или как?

Когда заправлял, показания давления комрессора смотрели?
Аватара пользователя
dmc

Ветеран Клуба
Почетный член Клуба
Сообщения: 5385
Зарегистрирован: Ср фев 13, 2008 9:42 am
Награды: 1
Репутация: 75
Модель: Hyundai Kona 2018
Мотор: 2.0
Город: Сакраменто
Имя: Вячеслав
Контактная информация:

Сообщение dmc »

Когда не морозит и трубки теплые, только вернее когда морозит они в инее :) , т.к. это редко происходит :)
В базовых установках показывает "0", а не цифры ошибок, т.е. как компрессор включен и работает, по системе Вовы Питерского :) , получается что датчики не причем. Заправляли еще в холод, подумали, что по этому термометр заправщика не показал работу кондея, заправляли как положено, апарат импортный, стандартный. Осенью заправлял им-же, проверяли, все работало :( .
Вопрос наверное в том, может-ли сам компрессор, то качать фрион, то нет, при работающей, включенной муфте? :oops:
Аватара пользователя
Akin
Президент Клуба
Сообщения: 28012
Зарегистрирован: Пн авг 27, 2007 2:01 am
Репутация: 644
Модель: ___
Мотор: ___
Город: Королев
Имя: Владислав
Откуда: Москва

Сообщение Akin »

Хороший вопрос, Слав :o
Я пока сталкивался либо с недостаточным давлением, либо вообще не работал. Так, чтобы то работал, то нет, не сталкивался.
Аватара пользователя
dmc

Ветеран Клуба
Почетный член Клуба
Сообщения: 5385
Зарегистрирован: Ср фев 13, 2008 9:42 am
Награды: 1
Репутация: 75
Модель: Hyundai Kona 2018
Мотор: 2.0
Город: Сакраменто
Имя: Вячеслав
Контактная информация:

Сообщение dmc »

Да вот тоже не вериться, что так может делать компресор. Могут так глючить мозги климата? Ехали с Вовой (vovvw), попали в пробку, начали помирать от жары, клима стояла на LO, поставил 18, попер холод, ну все думаю, очухался, заработал, после остановки и следующего запуска трюк не повторился, после делал адаптацию климы, опять заработал и опять до следущего пуска :o Следущая адаптация не помогла. А вот такие симптомы не припоминаются :) ?
Аватара пользователя
Akin
Президент Клуба
Сообщения: 28012
Зарегистрирован: Пн авг 27, 2007 2:01 am
Репутация: 644
Модель: ___
Мотор: ___
Город: Королев
Имя: Владислав
Откуда: Москва

Сообщение Akin »

У меня как то был перезаправлен кондей...
Он включался и сразу отключался по датчику давления. Может, тебе перелили фреона....
Попробуй закоротить фишку от верхнего датчика, вдруг, заработает. Тогда думать будем.
Аватара пользователя
sevengt
Член Клуба
Сообщения: 371
Зарегистрирован: Пт мар 14, 2008 8:41 pm
Репутация: 1
Модель: RRS
Мотор: 4.4
Город: Дмитров

Re: Кондиционер, то работает, то нет.

Сообщение sevengt »

1. По какой причине ездил зимой не заправленным?
2. При перезаправке сисемы газ не может нормально испарятся и как следствие не морозит почти совсем, а компресор при этом будет сильно греться.
3. Как вариант - при высокой температуре компресор отключается чтоб двигатель не перегреть, но у тебя я понял он чаще не морозит чем морозит поэтому наверное отпадает.
А8 4,2 AQF 1999 г.р. ФиолЭтовая! продана...... - - - RRS серебро HSE
Аватара пользователя
sevengt
Член Клуба
Сообщения: 371
Зарегистрирован: Пт мар 14, 2008 8:41 pm
Репутация: 1
Модель: RRS
Мотор: 4.4
Город: Дмитров

Re:

Сообщение sevengt »

Akin писал(а): Он включался и сразу отключался по датчику давления. Может, тебе перелили фреона....
Так у тебя наверное в этом случае муфта отключалась?
А8 4,2 AQF 1999 г.р. ФиолЭтовая! продана...... - - - RRS серебро HSE
Аватара пользователя
sevengt
Член Клуба
Сообщения: 371
Зарегистрирован: Пт мар 14, 2008 8:41 pm
Репутация: 1
Модель: RRS
Мотор: 4.4
Город: Дмитров

Re: Кондиционер, то работает, то нет.

Сообщение sevengt »

я имею ввиду что если муфта работает, то датчик закорачивать смысла нет.
А8 4,2 AQF 1999 г.р. ФиолЭтовая! продана...... - - - RRS серебро HSE
Аватара пользователя
Akin
Президент Клуба
Сообщения: 28012
Зарегистрирован: Пн авг 27, 2007 2:01 am
Репутация: 644
Модель: ___
Мотор: ___
Город: Королев
Имя: Владислав
Откуда: Москва

Сообщение Akin »

Так хорошо видно, как муфта включается, а когда выключается, плохо видно...

Еще был непонятный глюк - так и не пофиксил его... Как-то раз перестал работать кондей, фуфта при включении щелкала, но сразу обратно отключалась. Скрепка в фишку тогда не помогла...
На улице было +40 и выше, без кондея жизни не было вообще. Я кинул плюс прямо на муфту и, о чудо, кондей заработал. На стоянке плюс отсоединял вручную, через кнопочку... Потом вдруг все само наладилось и потребность в кнопочке отпала. С год её не демонтировал, так и ездил, потом снял, лишние провода все-же...
Аватара пользователя
dmc

Ветеран Клуба
Почетный член Клуба
Сообщения: 5385
Зарегистрирован: Ср фев 13, 2008 9:42 am
Награды: 1
Репутация: 75
Модель: Hyundai Kona 2018
Мотор: 2.0
Город: Сакраменто
Имя: Вячеслав
Контактная информация:

Re:

Сообщение dmc »

Akin писал(а):У меня как то был перезаправлен кондей...
Он включался и сразу отключался по датчику давления. Может, тебе перелили фреона....
Попробуй закоротить фишку от верхнего датчика, вдруг, заработает. Тогда думать будем.
Стыдно сказать, но не видел верхнего датчика(скорее не знаю где смотреть :) ) Ну и опять-же, компресор должен выключиться от большого, как и от малого давления( в базовых было-бы "1"), а он крутит .
sevengt писал(а):1. По какой причине ездил зимой не заправленным?
Движок снимал, заправить полинился :D
sevengt писал(а): 2. При перезаправке сисемы газ не может нормально испарятся и как следствие не морозит почти совсем, а компресор при этом будет сильно греться.
Похоже на это, как проверить?
sevengt писал(а): 3. Как вариант - при высокой температуре компресор отключается чтоб двигатель не перегреть, но у тебя я понял он чаще не морозит чем морозит поэтому наверное отпадает.
Да отпадает, на любой температуре не работает.
Аватара пользователя
sevengt
Член Клуба
Сообщения: 371
Зарегистрирован: Пт мар 14, 2008 8:41 pm
Репутация: 1
Модель: RRS
Мотор: 4.4
Город: Дмитров

Re: Кондиционер, то работает, то нет.

Сообщение sevengt »

Ну при температуре +40 все может быть, и скорее всего по причине того что температура самого автомобиля была завышена и для избежания перегрева машинка его и не давала включить :)
А8 4,2 AQF 1999 г.р. ФиолЭтовая! продана...... - - - RRS серебро HSE
Аватара пользователя
Akin
Президент Клуба
Сообщения: 28012
Зарегистрирован: Пн авг 27, 2007 2:01 am
Репутация: 644
Модель: ___
Мотор: ___
Город: Королев
Имя: Владислав
Откуда: Москва

Сообщение Akin »

Датчик стоит рядом с ГТЦ, на трубке кондея.
Аватара пользователя
dmc

Ветеран Клуба
Почетный член Клуба
Сообщения: 5385
Зарегистрирован: Ср фев 13, 2008 9:42 am
Награды: 1
Репутация: 75
Модель: Hyundai Kona 2018
Мотор: 2.0
Город: Сакраменто
Имя: Вячеслав
Контактная информация:

Re:

Сообщение dmc »

Akin писал(а):Так хорошо видно, как муфта включается, а когда выключается, плохо видно...
.
У меня вроде хорошо видно, что включается и выключается при нажатии на экон, движок покороче.
Akin писал(а):Датчик стоит рядом с ГТЦ, на трубке кондея.
Там и глядел, збегаю еще посмотрю :D .
Аватара пользователя
sevengt
Член Клуба
Сообщения: 371
Зарегистрирован: Пт мар 14, 2008 8:41 pm
Репутация: 1
Модель: RRS
Мотор: 4.4
Город: Дмитров

Re: Re:

Сообщение sevengt »

dmc писал(а): Движок снимал, заправить полинился :D
Тогда добавляем еще вариант: в системе может находится некоторое количество влаги, кторое улавливает фильтр осушитель, если ее много и всю поймать он не может, то она подмерзает в том узком месте где газ из жидкой формы переходит в газообразную и нарушает всю работу.

Проверить наличие лишнего газа можно только со стендом, скачав все и взвесив, или просто начав спускать через нипель давление. Варианта два - если предположени верное заработает, если не верное то на заправку :)
А8 4,2 AQF 1999 г.р. ФиолЭтовая! продана...... - - - RRS серебро HSE
Аватара пользователя
sevengt
Член Клуба
Сообщения: 371
Зарегистрирован: Пт мар 14, 2008 8:41 pm
Репутация: 1
Модель: RRS
Мотор: 4.4
Город: Дмитров

Re: Кондиционер, то работает, то нет.

Сообщение sevengt »

И еще, если компрессор крутится а трубки при этом теплые обе, то вся неисправность полюбому в компрессоре-газе, другого не дано.
А8 4,2 AQF 1999 г.р. ФиолЭтовая! продана...... - - - RRS серебро HSE
Аватара пользователя
dmc

Ветеран Клуба
Почетный член Клуба
Сообщения: 5385
Зарегистрирован: Ср фев 13, 2008 9:42 am
Награды: 1
Репутация: 75
Модель: Hyundai Kona 2018
Мотор: 2.0
Город: Сакраменто
Имя: Вячеслав
Контактная информация:

Сообщение dmc »

Какая влага, перед заправкой система вакумируется, даже масло с низу высасовает, ну х.з.
Сбегал посмотрел, так и не нашел датчик выокого
Вложения
DSCN1804.JPG
Аватара пользователя
sevengt
Член Клуба
Сообщения: 371
Зарегистрирован: Пт мар 14, 2008 8:41 pm
Репутация: 1
Модель: RRS
Мотор: 4.4
Город: Дмитров

Re:

Сообщение sevengt »

dmc писал(а):Какая влага, перед заправкой система вакумируется, даже масло с низу высасовает, ну х.з.
Сбегал посмотрел, так и не нашел датчик выокого
По правилам так и должно быть, но всякое ж бывает, может не делали вакум, я ж не знаю :) Но если ты ваидел то тогда отпадает, самое простое и наиболее вероятное перезаправка.
А8 4,2 AQF 1999 г.р. ФиолЭтовая! продана...... - - - RRS серебро HSE
Ivan71

Ветеран Клуба Мастер Клуба За особые заслуги
Почетный член Клуба
Сообщения: 6509
Зарегистрирован: Ср апр 02, 2008 5:06 pm
Награды: 3
Репутация: 229
Модель: S8 D2/Q7
Мотор: 4.2/6.0
Город: Тула
Контактная информация:

Сообщение Ivan71 »

Может поможет, а может нет. Информация к размышлению так сказать. Был у меня случай похожий, на А6/45, меняли подшипник компрессора кондиционера. Поменяли, собрали, вроде все нормально. Но стал я замечать, что климат иногда не холодит. Причем может быть так, включился, отработал 2-3 минуты и все, больше не запускается. Муфта не включается. Ох, чего я только не делал, и датчики все смотрел, и систему заправлял, и аккумулятор поменял, всю массу везде почистил. Параллельно конечно с пристрастием изучал АК. Ничего!!! А тут как то на глаза попалась тема, где человек описывал похожую проблему и говорил о том, что между компрессором и муфтой должен быть определенный зазор, который выставляется специальными шайбами. Я к своим мастерам, так мол и так. Они говорят, ну да, типа были там какие-то, какие не помним, одну поставили, а две помоему выкинули. :o Я на разбор, нашел разбитый компрессор, забрал практически бесплатно, разобрал, вынул три шайбы разной толщины и отвез в сервис. Разобрали, поставили и вуаля, все работает. Потом где то нашел точную цифру в мм, помоему 4, не помню точно, врать не буду.

В результате работы получался неправильный зазор из-за перепада температуры, после нескольким минут работы просто выключался, а иногда не включался. Включался кстати чаще на холодную.
Аватара пользователя
Akin
Президент Клуба
Сообщения: 28012
Зарегистрирован: Пн авг 27, 2007 2:01 am
Репутация: 644
Модель: ___
Мотор: ___
Город: Королев
Имя: Владислав
Откуда: Москва

Re: Re:

Сообщение Akin »

dmc писал(а):
Akin писал(а):Датчик стоит рядом с ГТЦ, на трубке кондея.
Там и глядел, сбегаю еще посмотрю :D .
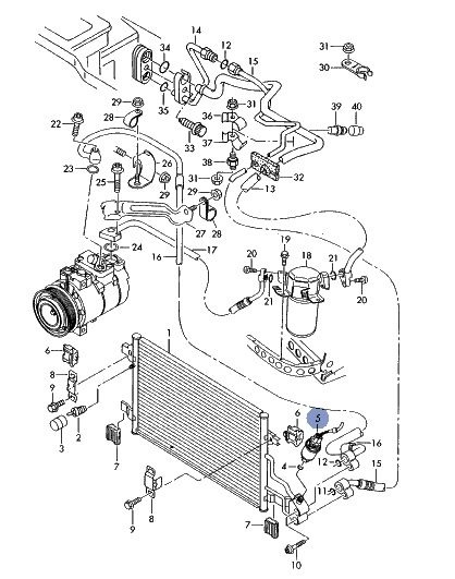
На 8 цилиндрах дорестайлинг вот тут стоял...
.JPG
Аватара пользователя
sevengt
Член Клуба
Сообщения: 371
Зарегистрирован: Пт мар 14, 2008 8:41 pm
Репутация: 1
Модель: RRS
Мотор: 4.4
Город: Дмитров

Re: Кондиционер, то работает, то нет.

Сообщение sevengt »

У DMS муфта то работает все время, а вот холоду нет. :razz:
А8 4,2 AQF 1999 г.р. ФиолЭтовая! продана...... - - - RRS серебро HSE
Аватара пользователя
Dmitry

Ветеран Клуба
Почетный член Клуба
Сообщения: 4137
Зарегистрирован: Сб дек 01, 2007 8:15 pm
Награды: 1
Репутация: 104
Модель: Tesla Model S, RR 2011
Мотор: 4.4 D
Город: Рыбинск
Имя: Дмитрий
Откуда: СССР

Сообщение Dmitry »

Слав, может попробуешь перезаправить.
Аватара пользователя
Dmitry

Ветеран Клуба
Почетный член Клуба
Сообщения: 4137
Зарегистрирован: Сб дек 01, 2007 8:15 pm
Награды: 1
Репутация: 104
Модель: Tesla Model S, RR 2011
Мотор: 4.4 D
Город: Рыбинск
Имя: Дмитрий
Откуда: СССР

Сообщение Dmitry »

когда мало фреона муфта может тоже работать, а холода не будет.
Аватара пользователя
sevengt
Член Клуба
Сообщения: 371
Зарегистрирован: Пт мар 14, 2008 8:41 pm
Репутация: 1
Модель: RRS
Мотор: 4.4
Город: Дмитров

Re: Кондиционер, то работает, то нет.

Сообщение sevengt »

Наверное перед этим стоит попробывать спустить немного газу, хуже то не будет, если что все равно на перезаправку :D А может и заработать если причина в этом.
А8 4,2 AQF 1999 г.р. ФиолЭтовая! продана...... - - - RRS серебро HSE
Аватара пользователя
Akin
Президент Клуба
Сообщения: 28012
Зарегистрирован: Пн авг 27, 2007 2:01 am
Репутация: 644
Модель: ___
Мотор: ___
Город: Королев
Имя: Владислав
Откуда: Москва

Сообщение Akin »

А на W12 предохранительный датчик здесь вот стоит...
.JPG
Ответить

Вернуться в «Климат-контроль»